Компанія Porsche може кардинально змінити уявлення про колір автомобіля. Виробник запатентував технологію, яка дозволяє змінювати колір кузова без фарбування — за допомогою електрики, спеціального покриття та камер, розповідає carscoops.com.
Зараз Porsche вже пропонує одні з найширших можливостей персоналізації. Через програму Sonderwunsch клієнти можуть обрати понад 220 відтінків Paint to Sample або замовити індивідуальний колір за власним зразком — наприклад, за тканиною чи аксесуаром. Але новий патент іде ще далі.
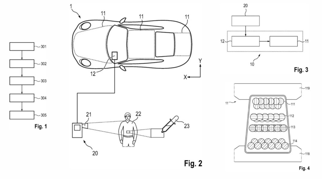
Згідно з документами, система використовує камеру, яка аналізує одяг водія або інші візуальні елементи. Після цього електричний сигнал активує спеціальне покриття з пігментами, які змінюють колір у реальному часі. У патенті йдеться про шари з червоними, зеленими та синіми частинками — разом вони можуть створювати широкий спектр відтінків.

На ілюстраціях до патенту показано автомобіль, схожий на Porsche 911, кузов якого може підлаштовуватися під зовнішній вигляд власника або навколишнє середовище. При цьому не потрібно щоразу обирати один «улюблений» колір — машина може змінювати його коли завгодно.
Поки що це лише патент, і про серійне виробництво мова не йде. Залишається багато питань — довговічність покриття, ремонт, вартість та практичність. Втім, Porsche не єдина компанія, яка рухається в цьому напрямку. BMW також експериментує з технологією зміни кольору кузова на основі E Ink і планує довести його до серійних авто до 2027 року.
