Компанія Toyota готує нову платформу для електромобілів, яку планує представити у 2028 році. У США з’явився витік патенту, що розкриває можливе технічне рішення для майбутньої архітектури. Йдеться про перерозподіл електронних компонентів задля збільшення простору в салоні, пише motor.es.
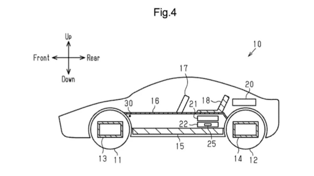
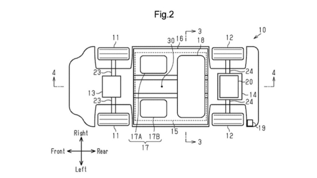
Після запуску Toyota bZ4X виробник пообіцяв більш досконалу базу для EV. Згідно з документами, батарея залишиться під підлогою, однак частину електроніки пропонують перенести між передніми сидіннями без створення традиційного тунелю. Це дозволить знизити центр ваги, скоротити довжину кабелів і вивільнити місце для пасажирів другого ряду.


Рішення може застосовуватися для різних типів кузова — від SUV до спорткарів. Подібні ідеї раніше патентувала й Nissan, але Toyota робить ставку саме на зміну компонування електроніки.
